桌台类、椅凳类、床类家具安装技术要求
桌台类、椅凳类、床类家具安装技术要求
1、桌台类家具安装技术要求
桌台类家具中所包含的柜体的安装应符合柜类家具安装技术要求。
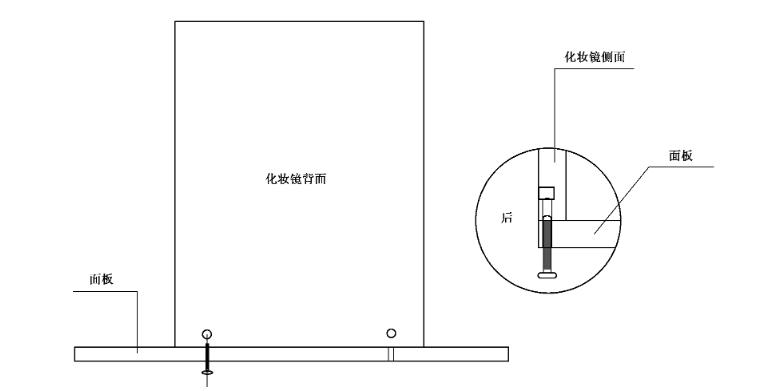
如果是包含金属脚、金属管和化妆镜等配件的桌台类家具,在完成桌台柜体的安装后,再按照装配图安装金属脚,待面板与侧板连接后再通过金属管与柜体连接,最后用专用配件将化妆镜与柜面板连接,安装后镜面应稳固无倾斜﹐见图

化妆镜与面板安装示意
2、椅凳类家具安装技术要求
先进行框架结构的安装,按照装配图的要求,将椅凳类框架采用相应的连接件或插接结构进行安装,确保连接部位紧密稳固无松动。
椅凳框架安装完成后再把座垫放入框架内,采用插接结构连接的座面应将座面插接孔位与框架插接孔位对正连接,确保插接紧密稳固无松动。
安装完成后应进行整体调整,确保椅凳底脚平稳性良好。
3、床类家具安装技术要求
典型可拆装床部件分解见图。

常规可拆装床部件分解示意
先用偏心连接件组装床头,安装床两边侧板上连接螺杆,并将内侧板和内固板连接。
安装好后再把床头板和床侧板用配套的连接件连接,将床头和床侧板间相对应的孔位对正锁好。床尾板与床侧板和内侧板用偏心连接件连接。
床体连接好后再安装床铺面架,安装时先将排骨架放平﹐再把固定支撑铁架和排骨架连接。排骨架两边的孔位与支撑铁架两边对应的孔连接﹐连接好后将排骨架放好,保持平整。确保排骨架压在内侧板和内固板上面。把固定支撑架与床侧板连接﹔确保支撑架安装定位准确,最后将排骨架支起来把气压杆锁紧,安装后气压杆应启闭灵敏,见图。

床活动部件安装示意
[上一条]:永亨实业梦想孵化中心,第十一期培训顺利结业
[下一条]:柜类家具安装技术要求










